Samstag Sales Fine German Hand Tools



USA Phone:
 (615)-735-3388


Andreas Maier Fellbach


Mechanical Clamping Elements - Mechanische Spannelemente

Samstag Sales is an authorized independent distributor of AMF Tools. AMF has a complete line of clamping equipment for machine tools. We can Special Order any AMF clamping tool. Such as: Clamps, Eccentric Clamps, Centering Clamps, Power Clamps,  Support Blocks, Clamping bolts - nuts - washers, Stops and Precision T-nuts, Parallel Supports, Height Setting Screw Jacks, Magnetic Screw Jack, etc. All Clamps are Price on Request!

HOME Quick Search SEARCH
email Samstag How To Order AMF Hand Tools
 Please Note: Our shopping cart is available for your convenience. The shipping is a flat rate calculated by value. Contact us for more shipping options. (Click for Shipping Rates & Info)
Last AMF Update December 14, 2022

Quick  Search
Quick
 Search




Adjustable Height Clamp - Stepless Power Clamps
Adjustable Stops Pull-Down Clamps
Bolt for T-Slot Setting Elements
Bolt Nut Washer Set Support Blocks
Crocodile Clamps T-Bolts
Fork Clamps T-Bolt-Nut-Washer Set
Nuts Vacuum Plates
Positioning Elements
Search Tip: an easy way to search this web page is to use the "Find in Page" feature built into your browser. A fast way to open the  search box is to hold down your (CTRL) key and type the letter "F" on Windows.  Or  +"F" keys on a Mac.
.
 . .
AMF # DESCRIPTION 
( Price on Request)

Adjustable Height Clamps - Stepless
6321
Stepless clamp for fast coverage of several ranges of work height without additional supports. Low space requirement on machine table. Heavy-duty design and specially suitable for clamping of press- and punching tools.
{ Size Table }

 



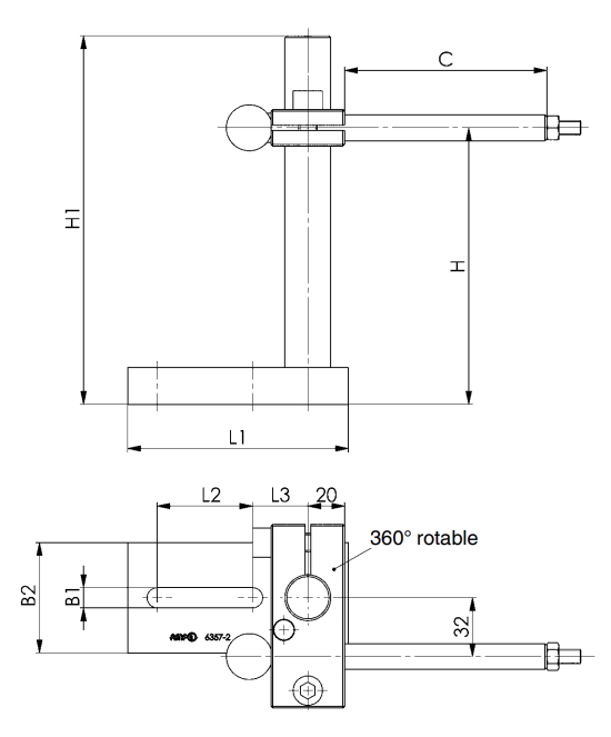
Adjustable Stops
AMF 6357
AMF adjustable stops with hexagon key. The quickly adjustable stop is suitable for positioning workpieces on various tooling machines and vices. It has a wide range for height and length adjustments. Setting is done with the supplied T-handle hexagon key.
    
AMF 75655
Size 2, nut 10mm, 12mm, 14mm, 16mm, 18mm. B1= 11mm , B2= 60mm, H1= 30-190mm, H2= 200mm, L1= 120mm, L2= 52mm.
AMF 75663
Size 3, nut 16mm, 18mm, 20mm, 22mm, 24mm, 28mm. B1= 17mm, B2= 80mm, H1= 30-190mm, H2= 200mm, L1= 160mm, L2= 73.



Bolts



Forged, steel, rolled thread, bolts, stamped with AMF logo.
84004
This is an AMF 84004 Bolt. DIN787- M6x6x25
84012
This is an AMF 84012 Bolt. DIN787-M6x6x40
84020
This is an AMF 84020 Bolt. DIN787-M6x6x63
84038
This is an AMF 84038 Bolt. DIN787-M8x8x32
80374
This is an AMF 80374 Bolt. DIN787-M8x8x50
80382
This is an AMF 80382 Bolt. DIN787-M8x8x80
84046
This is an AMF 84046 Bolt. DIN787-M10x10x40
80390
This is an AMF 80390 Bolt. DIN787-M10x10x63
81323
This is an AMF 81323 Bolt. DIN787-M10x10x80
80408
This is an AMF 80408 Bolt. DIN787-M10x10x100
80416
This is an AMF 80416 Bolt. DIN787-(M12x12x50)
85605
This is an AMF 85605 Bolt. DIN787-M12x12x63
80424
This is an AMF 80424 Bolt. DIN787-M12x12x80
81406
This is an AMF 81406 Bolt. DIN787-M12x12x100
80432
This is an AMF 80432 Bolt. DIN787-M12x12x125
81497
This is an AMF 81497 Bolt. DIN787-M12x12x160
80440
This is an AMF 80440 Bolt. DIN787-M12x12x200
80457
This is an AMF 80457 Bolt. DIN787-(M12x14x50)
85613
This is an AMF 85613 Bolt. DIN787-M12x14x63
80465
This is an AMF 80465 Bolt. DIN787-M12x14x80
81851
This is an AMF 81851 Bolt. DIN787-M12x14x100
80473
This is an AMF 80473 Bolt. DIN787-M12x14x125
82966
This is an AMF 82966 Bolt. DIN787-M12x14x160
80481
This is an AMF 80481 Bolt. DIN787-M12x14x200
80499
This is an AMF 80499 Bolt. DIN787-M14x16x63
84426
This is an AMF 84426 Bolt. DIN787-M14x16x80
80507
This is an AMF 80507 Bolt. DIN787- M14x16x100
84434
This is an AMF 84434 Bolt. DIN787-M14x16x125
80515
This is an AMF 80515 Bolt. DIN787-M14x16x160
80523
This is an AMF 80523 Bolt. DIN787-M14x16x250
80531
This is an AMF 80531 Bolt. DIN787-(M16x16x63)
85621
This is an AMF 85621 Bolt. DIN787-(M16x16x80)
80549
This is an AMF 80549 Bolt. DIN787-(M16x16x100)
84384
This is an AMF 84384 Bolt. DIN787-(M16x16x125)
80556
This is an AMF 80556 Bolt. DIN787-(M16x16x160)
85647
This is an AMF 85647 Bolt. DIN787-(M16x16x200)
80564
This is an AMF 80564 Bolt. DIN787-(M16x16x250)
80572
This is an AMF  80572 Bolt. DIN787-M16x18x63
85639
This is an AMF 85639 Bolt. DIN787-M16x18x80
80580
This is an AMF 80580 Bolt. DIN787-M16x18x100
84400
This is an AMF 84400 Bolt. DIN787-M16x18x125
80598
This is an AMF 80598 Bolt. DIN787-M16x18x160
85654
This is an AMF 85654 Bolt. DIN787-M16x18x200
80606
This is an AMF 80606 Bolt. DIN787-M16x18x250
84103
This is an AMF 84103 Bolt. DIN787-(M20x20x80)
84053
This is an AMF 84053 Bolt. DIN787-(M20x20x100)
84111
This is an AMF 84111 Bolt. DIN787-(M20x20x125)
85662
This is an AMF 85662 Bolt. DIN787-(M20x20x160)
84129
This is an AMF 84129 Bolt. DIN787-(M20x20x200)
84079
This is an AMF 84079 Bolt. DIN787-(M20x20x250)
84137
This is an AMF 84137 Bolt. DIN787-(M20x20x315)
80614
This is an AMF 80614 Bolt. DIN787-M20x22x80
85829
This is an AMF 85829 Bolt. DIN787-M20x22x100
80622
This is an AMF 80622 Bolt. DIN787-M20x22x125
85670
This is an AMF 85670 Bolt. DIN787-M20x22x160
80630
This is an AMF 80630 Bolt. DIN787-M20x22x200
85845
This is an AMF 85845 Bolt. DIN787-M20x22x250
80648
This is an AMF 80648 Bolt. DIN787-M20x22x315
80770
This is an AMF 80770 Bolt. DIN787-(M24x24x100)
85688
This is an AMF 85688 Bolt. DIN787-(M24x24x125)
80788
This is an AMF 80788 Bolt. DIN787-(M24x24x160)
85704
This is an AMF 85704 Bolt. DIN787-(M24x24x200)
80796
This is an AMF 80796 Bolt. DIN787-(M24x24x250)
84061
This is an AMF 84061 Bolt. DIN787-(M24x24x315)
80804
This is an AMF 80804 Bolt. DIN787-(M24x24x400)
80655
This is an AMF 80655 Bolt. DIN787-M24x28x100
85696
This is an AMF 85696 Bolt. DIN787-M24x28x125
80663
This is an AMF 80663 Bolt. DIN787-M24x28x160
85712
This is an AMF 85712 Bolt. DIN787-M24x28x200
80671
This is an AMF 85712 Bolt. DIN787-M24x28x250
84087
This is an AMF 85712 Bolt. DIN787-M24x28x315
80689
This is an AMF 85712 Bolt. DIN787-M24x28x400
87643
This is an AMF 85712 Bolt. DIN787-(M27x32x160)
87783
This is an AMF 85712 Bolt. DIN787-(M27x32x200)
87809
This is an AMF 85712 Bolt. DIN787-(M27x32x315)
80697
This is an AMF 85712 Bolt. DIN787-M30x36x125
85720
This is an AMF 85712 Bolt. DIN787-M30x36x160
80705
This is an AMF 85712 Bolt. DIN787-M30x36x200
85738
This is an AMF 85712 Bolt. DIN787-M30x36x250
80713
This is an AMF 85712 Bolt. DIN787-M30x36x315
80721
This is an AMF 85712 Bolt. DIN787-M30x36x500
80739
This is an AMF 85712 Bolt. DIN787-M36x42x160
80747
This is an AMF 85712 Bolt. DIN787-M36x42x250
80754
This is an AMF 85712 Bolt. DIN787-M36x42x400
80762
This is an AMF 85712 Bolt. DIN787-M36x42x600
84145
This is an AMF 85712 Bolt. DIN787-M42x48x160
84152
This is an AMF 85712 Bolt. DIN787-M42x48x250
84160

This is an AMF 85712 Bolt. DIN787-M42x48x400



Bolt - Nut - Washer Set for T-Nut
DIN 787
Bolt with nut and washer, for T-Slots. Available in all sizes listed above.
84202
Size M6x6x25 (See Chart DxNutxL). Strength class 10.9
84210
Size M6x6x40 (See Chart DxNutxL). Strength class 10.9
84228
Size M6x6x63 (See Chart DxNutxL). Strength class 10.9
84236
Size M8x8x32 (See Chart DxNutxL). Strength class 10.9
80812
Size M8x8x50 (See Chart DxNutxL). Strength class 10.9
80820
Size M8x8x80 (See Chart DxNutxL). Strength class 10.9
84244
Size M10x10x40 (See Chart DxNutxL). Strength class 10.9
80838
Size M10x10x63 (See Chart DxNutxL). Strength class 10.9
81356
Size M10x10x80 (See Chart DxNutxL). Strength class 10.9
80846
Size M10x10x100 (See Chart DxNutxL). Strength class 10.9
80853
Size M12x12x50 (See Chart DxNutxL). Strength class 10.9
85746
Size M12x12x63 (See Chart DxNutxL). Strength class 10.9
80861
Size M12x12x80 (See Chart DxNutxL). Strength class 10.9
81448
Size M12x12x100 (See Chart DxNutxL). Strength class 10.9
80879
Size M12x12x125 (See Chart DxNutxL). Strength class 10.9
81505
Size M12x12x160 (See Chart DxNutxL). Strength class 10.9
80887
Size M12x12x200 (See Chart DxNutxL). Strength class 10.9
80895
Size M12x14x50 (See Chart DxNutxL). Strength class 10.9
85753
Size M12x14x63 (See Chart DxNutxL). Strength class 10.9
80903
Size M12x14x80 (See Chart DxNutxL). Strength class 10.9
82974
Size M12x14x100 (See Chart DxNutxL). Strength class 10.9
80911
Size M12x14x125 (See Chart DxNutxL). Strength class 10.9
84376
Size M12x14x160 (See Chart DxNutxL). Strength class 10.9
80929
Size M12x14x200 (See Chart DxNutxL). Strength class 10.9
80937
Size M14x16x63 (See Chart DxNutxL). Strength class 8.8
84442
Size M14x16x80 (See Chart DxNutxL). Strength class 8.8
80945
Size M14x16x100 (See Chart DxNutxL). Strength class 8.8
84459
Size M14x16x125 (See Chart DxNutxL). Strength class 8.8
80952
Size M14x16x160 (See Chart DxNutxL). Strength class 8.8
80960
Size M14x16x250 (See Chart DxNutxL). Strength class 8.8
80978
Size M16x16x63 (See Chart DxNutxL). Strength class 8.8
85761
Size M16x16x80 (See Chart DxNutxL). Strength class 8.8
80986
Size M16x16x100 (See Chart DxNutxL). Strength class 8.8
84392
Size M16x16x125 (See Chart DxNutxL). Strength class 8.8
80994
Size M16x16x160 (See Chart DxNutxL). Strength class 8.8
85779
Size M16x16x200 (See Chart DxNutxL). Strength class 8.8
81000
Size M16x16x250 (See Chart DxNutxL). Strength class 8.8
81018
Size M16x18x63 (See Chart DxNutxL). Strength class 8.8
85787
Size M16x18x80 (See Chart DxNutxL). Strength class 8.8
81026
Size M16x18x100 (See Chart DxNutxL). Strength class 8.8
84418
Size M16x18x125 (See Chart DxNutxL). Strength class 8.8
81034
Size M16x18x160 (See Chart DxNutxL). Strength class 8.8
85795
Size M16x18x200 (See Chart DxNutxL). Strength class 8.8
81042
Size M16x18x250 (See Chart DxNutxL). Strength class 8.8
84301
Size M20x20x80 (See Chart DxNutxL). Strength class 8.8
81547
Size M20x20x100 (See Chart DxNutxL). Strength class 8.8
84319
Size M20x20x125 (See Chart DxNutxL). Strength class 8.8
85803
Size M20x20x160 (See Chart DxNutxL). Strength class 8.8
84327
Size M20x20x200 (See Chart DxNutxL). Strength class 8.8
81562
Size M20x20x250 (See Chart DxNutxL). Strength class 8.8
84335
Size M20x20x315 (See Chart DxNutxL). Strength class 8.8
81059
Size M20x22x80 (See Chart DxNutxL). Strength class 8.8
85837
Size M20x22x100 (See Chart DxNutxL). Strength class 8.8
81067
Size M20x22x125 (See Chart DxNutxL). Strength class 8.8
85811
Size M20x22x160 (See Chart DxNutxL). Strength class 8.8
81075
Size M20x22x200 (See Chart DxNutxL). Strength class 8.8
85852
Size M20x22x250 (See Chart DxNutxL). Strength class 8.8
81083
Size M20x22x315 (See Chart DxNutxL). Strength class 8.8
81216
Size M24x24x100 (See Chart DxNutxL). Strength class 8.8
85860
Size M24x24x125 (See Chart DxNutxL). Strength class 8.8
81224
Size M24x24x160 (See Chart DxNutxL). Strength class 8.8
85878
Size M24x24x200 (See Chart DxNutxL). Strength class 8.8
81232
Size M24x24x250 (See Chart DxNutxL). Strength class 8.8
81588
Size M24x24x315 (See Chart DxNutxL). Strength class 8.8
81240
Size M24x24x400 (See Chart DxNutxL). Strength class 8.8
81091
Size M24x28x100 (See Chart DxNutxL). Strength class 8.8
85886
Size M24x28x125 (See Chart DxNutxL). Strength class 8.8
81109
Size M24x28x160 (See Chart DxNutxL). Strength class 8.8
85894
Size M24x28x200 (See Chart DxNutxL). Strength class 8.8
81117
Size M24x28x250 (See Chart DxNutxL). Strength class 8.8
81604
Size M24x28x315 (See Chart DxNutxL). Strength class 8.8
81125
Size M24x28x400 (See Chart DxNutxL). Strength class 8.8
81133
Size M30x36x125 (See Chart DxNutxL). Strength class 8.8
85902
Size M30x36x160 (See Chart DxNutxL). Strength class 8.8
81141
Size M30x36x200 (See Chart DxNutxL). Strength class 8.8
85910
Size M30x36x250 (See Chart DxNutxL). Strength class 8.8
81158
Size M30x36x315 (See Chart DxNutxL). Strength class 8.8
81166
Size M30x36x500 (See Chart DxNutxL). Strength class 8.8
81174
Size M36x42x160 (See Chart DxNutxL). Strength class 8.8
81182
Size M36x42x250 (See Chart DxNutxL). Strength class 8.8
81190
Size M36x42x400 (See Chart DxNutxL). Strength class 8.8
81208
Size M36x42x600 (See Chart DxNutxL). Strength class 8.8
84178
Size M42x48x160 (See Chart DxNutxL). Strength class 8.8
84186
Size M42x48x250 (See Chart DxNutxL). Strength class 8.8
84194
Size M42x48x400 (See Chart DxNutxL). Strength class 8.8


Crocodile Clamps
AMF 6312V
AMF 6312V Crocodile Clamp with clamping bolt DIN 787, washer DIN 6340 and nut DIN 6330B. Infinitely adjustable, tempered, galvanised with captive compression piece and counter bearing. Additional sizes available on request.

     
AMF 79780
B1= 13mm, nut size 10mm, clamping bolt M10x10x100, max clamping force 25kN, H1= 0-40mm.
AMF 79806
B1= 13mm, nut size 12mm, clamping bolt M12x12x125, max clamping force 30kN, H1= 0-55mm.
AMF 79822
B1= 13mm, nut size 14mm, clamping bolt M12x14x125, max clamping force 30kN, H1= 0-55mm.
AMF 79848
B1= 17mm, nut size 12mm, clamping bolt M12x12x160, max clamping force 35kN, H1= 0-70mm.


.
Fork Clamps

AMF Fork Clamp DIN 6315B
70466
AMF Fork Clamp. DIN6315B-M6X60L
70474
AMF Fork Clamp. DIN6315B-M8X80L
70482
AMF Fork Clamp. DIN6315B-M10X100L
70490
AMF Fork Clamp. DIN6315B-M12 M14X125L
70508
AMF Fork Clamp. DIN6315B-M12 M14X160L
70516
AMF Fork Clamp. DIN6315B-M12 M14X200L
70524
AMF Fork Clamp. DIN6315B-M16 M18X160L
70532
AMF Fork Clamp. DIN6315B-M16 M18X200L
70540
AMF Fork Clamp. DIN6315B-M16 M18X250L
70557
AMF Fork Clamp. DIN6315B-M20 M22X200L
70565
AMF Fork Clamp. DIN6315B-M20 M22X250L
70573
AMF Fork Clamp. DIN6315B-M20 M22X315L
70425
AMF Fork Clamp. DIN6315B-M20 M22X500L
70581
AMF Fork Clamp. DIN6315B-M24X200L
70599
AMF Fork Clamp. DIN6315B-M24X250L
70607
AMF Fork Clamp. DIN6315B-M24X315L
37390
AMF Fork Clamp. DIN6315B-M24X400L
70433
AMF Fork Clamp. DIN6315B-M24X500L
3079
AMF Fork Clamp. DIN6315B-M24X600L
30064
AMF Fork Clamp. DIN6315B-M24X800L
70615
AMF Fork Clamp. DIN6315B-M30X250L
70623
AMF Fork Clamp. DIN6315B-M30X315L
70631
AMF Fork Clamp. DIN6315B-M30X400L
70441
AMF Fork Clamp. DIN6315B-M30X600L
70458
AMF Fork Clamp. DIN6315B-M30X1000L
70649
AMF Fork Clamp. DIN6315B-M36X400L
70656
AMF Fork Clamp. DIN6315B-M36X600L
70672
AMF Fork Clamp. DIN6315B-M36 M42X600L
.
Nuts
82362
AMF 82362 Nut. DIN6330B-M6
82370
AMF 82370 Nut. DIN6330B-M8
82354
AMF 82354 Nut. DIN6330B-M10
82388
AMF 82388 Nut. DIN6330B-M10
82347
AMF 82347 Nut. DIN6330B-M12
82396
AMF 82396 Nut. DIN6330B-M12
82321
AMF 82321 Nut. DIN6330B-(M14)
82404
AMF 82404 Nut. DIN6330B- (M14)
82412
AMF 82412 Nut. DIN6330B-M16
82420
AMF 82420 Nut. DIN6330B-(M18)
82438
AMF 82438 Nut. DIN6330B-M20
82339
AMF 82339 Nut. DIN6330B-(M22)
82446
AMF 82446 Nut. DIN6330B-(M22)
82453
AMF 82453 Nut. DIN6330B-M24
82461
AMF 82461 Nut. DIN6330B-(M27)
82479
AMF 82479 Nut. DIN6330B- M30
82487
AMF 82487 Nut. DIN6330B-M36
82495
AMF 82495 Nut. DIN6330B-M42
82503
AMF 82503 Nut. DIN6330B-M48


..
Postitioning Elements
AMF 6348SP
AMF 6348SP Parallel Support Sets. In wooden stand. Plain parallel, fine-ground, in pairs.
    
AMF 75606
Size 100, 20 pairs, length 100mm. Size 100, 1 pair each (B x H): 2x5 / 2x10 / 2x15 / 2x20 / 3x6 / 3x11 / 3x16 / 3x21 / 4x7 / 4x12 / 4x17 / 4x22 / 5x8 / 5x13 / 5x18 / 5x23 / 6x9 / 6x14 / 6x19 / 6x24 mm.
AMF 75614
Size 125, 24 pairs, length 125mm. Size 125, 1 pair each (B x H): 8x11 / 8x16 / 8x21 / 8x26 / 8x31 / 8x36 / 10x13 / 10x18 / 10x23 / 10x28 / 10x33 / 10x38 / 12x15 / 12x20 / 12x25 / 12x30 / 12x35 / 12x40 / 14x17 / 14x22 / 14x27 / 14x32 / 14x37 / 14x42 mm.
AMF 75648
Size 150, 24 pairs, length 150mm. Size 150, 1 pair each (B x H): 8x11 / 8x16 / 8x21 / 8x26 / 8x31 / 8x36 / 10x13 / 10x18 / 10x23 / 10x28 / 10x33 / 10x38 / 12x15 / 12x20 / 12x25 / 12x30 / 12x35 / 12x40 / 14x17 / 14x22 / 14x27 / 14x32 / 14x37 / 14x42 mm.


Power Clamps
AMF 7600
AMF Type 7600 Power Clamp.

AMF 556406 AMF Type 7600 Power Clamp, No. 556406. Size 22, max load 22kN, M12 or slot 14. Height 5-38mm.
AMF 556186 AMF Type 7600 Power Clamp, No. 556186. Size 30, max load 30kN, M12 or slot 14. Height 6-68mm.
AMF 556187 AMF Type 7600 Power Clamp, No. 556187. Size 30, max load 30kN, M16 or slot 18. Height 6-68mm.
AMF 556189 AMF Type 7600 Power Clamp, No. 556189. Size 32, max load 32kN, M12 or slot 14. Height 6-50mm.
AMF 556190 AMF Type 7600 Power Clamp, No. 556190. Size 40, max load 40kN, M16 or slot 18. Height 6-50mm.
AMF 556188 AMF Type 7600 Power Clamp, No. 556188. Size 43, max load 43kN, M16 or slot 18. Height 5-80mm.
AMF 554198 AMF Type 7600 Power Clamp, No. 554198. Size 49, max load 49kN, M20 or slot 22. Height 7-88mm.





Pull-Down Clamps
AMF 6489
Mechanical pull-down spring clamp. Used for workpieces with existing or retrofitted holes.
                
AMF 375600
Vertical clamping force 5kN, torque Md= 18Nm, Diameter of K= 10.9-11.8mm, lateral compensation per clamp ± 0.25mm, clamping rim height min. 9mm.
AMF 375667
Vertical clamping force 5kN, torque Md= 18Nm, Diameter of K= 11.9-12.8mm, lateral compensation per clamp ± 0.25mm, clamping rim height min. 9mm.
AMF 375683
Vertical clamping force 5kN, torque Md= 18Nm, Diameter of K= 12.9-13.8mm, lateral compensation per clamp ± 0.25mm, clamping rim height min. 9mm.
AMF 375709
Vertical clamping force 5kN, torque Md= 18Nm, Diameter of K= 13.9-14.8mm, lateral compensation per clamp ± 0.25mm, clamping rim height min. 10mm.
AMF 375725
Vertical clamping force 5kN, torque Md= 18Nm, Diameter of K= 14.9-15.8mm, lateral compensation per clamp ± 0.25mm, clamping rim height min. 10mm.
AMF 375741
Vertical clamping force 5kN, torque Md= 18Nm, Diameter of K= 15.9-16.8mm, lateral compensation per clamp ± 0.25mm, clamping rim height min. 10mm.
AMF 6492
AMF 6492 Flat Clamp, "Mini-Bulle" Model, delivered as pairs. These clamps are for extremely low workpieces.
           
AMF 73098
Nut 12mm, height min. 2.5mm, height max 13.5mm, Force 1= 5kN, Force 2= 0.6kN, B= 18mm, C= 1.8mm, H1= 11mm, L= 52mm, X=5mm.
AMF 73106
Nut 14mm, height min. 1.5mm, height max 13.5mm, Force 1= 5.5kN, Force 2= 0.7kN, B= 22mm, C= 1.8mm, H1= 11mm, L= 55mm, X=5mm.
AMF 73114
Nut 16mm, height min. 2.5mm, height max 17mm, Force 1= 8kN, Force 2= 0.9kN, B= 25mm, C= 2.5mm, H1= 15mm, L= 68mm, X=6mm.
AMF 73122
Nut 18mm, height min. 1.5mm, height max 16mm, Force 1= 9kN, Force 2= 1kN, B= 28mm, C= 2.5mm, H1= 15mm, L= 71mm, X=6mm.
AMF 73080
Nut 22mm, height min. 4.5mm, height max 21.5mm, Force 1= 16kN, Force 2= 1.9kN, B= 35mm, C= 3mm, H1= 20mm, L= 89mm, X=9mm.


Support Blocks
AMF 6500E
AMF 6500E Universal Step Blocks. Step increments: vertical 4.65 mm, horizontal 2.3 mm. Tempering steel, varnished. For use in pairs with all clamps and single use with clamp no. 6314Z.
    
AMF 73296
Size 1, height min. 23mm, height max. 51mm, A=19mm, B=30mm, C=33mm.
AMF 73304
Size 2, height min. 39mm, height max. 107mm, A=35.5mm, B=30mm, C=66mm.
AMF 73312
Size 3, height min. 71mm, height max. 208mm, A=68mm, B=30mm, C=131mm.
AMF 6510
AMF 6510 Serrated heel block (serrated jacks). Step increments: 5.2 mm. Malleable casting, varnished. Base mill finished.

AMF 73379
Size 2, height min. 111mm, height max. 147mm, base is 50x50mm, clamping force 40kN.
AMF 73387
Size 3, height min. 155mm, height max. 223mm, base is 60x60mm, clamping force 60kN.
AMF 73395
Size 4, height min. 220mm, height max. 340mm, base is 80x80mm, clamping force 90kN.

Setting Elements
AMF 6438S
AMF 6438S Quick-Action Screw Jack stepless adjustment with brass locking screw. Centering hole diameter 12mm.
                     
AMF 75705
Size 450, height min. 320mm, height max. 450mm, Force max. 50kN. TR= 40x7, B1= 26mm, B2= 190mm, D= 90mm, L= 220mm, SW= 65mm.
AMF75713
Size 710, height min. 450mm, height max. 710mm, Force max. 40kN. TR= 40x7, B1= 26mm, B2= 190mm, D= 90mm, L= 220mm, SW= 65mm.
AMF 75721
Size 1250, height min. 710mm, height max. 1250mm, Force max. 30kN. TR= 40x7, B1= 26mm, B2= 190mm, D= 90mm, L= 220mm., SW= 65mm


Vacumm Plates
AMF 7800

AMF 7800 Vacuum Clamping Plates. Inluded items are aluminum clamping plate, intergrated venturi nozzle, sound absorber, vacuum meter, shut-off valve, 6 eccentric stops, 2m pneumatic hose, plug-in nipple for compressed air connection, 10m of 4mm diameter sealing cord. The vacuum clamping plate has grooves and suction points on its upper side. All suction points are interconnected. Easy positioning via holes for stop pins or lateral, height-adjustable eccentric stops. Lateral grooves or fastening holes allow the vacuum clamping plate to be fastened to a baseplate (e.g. machine table).


AMF 375717
Operating pressure 3.5 - 5 , max vacuum percentage 90, number of suction points 1, length 150mm, width 150mm.
AMF 375733
Operating pressure 3.5 - 5, max vacuum percentage 90, number of suction points 3, length 200mm, width 300mm.
AMF 375758
Operating pressure 3.5 - 5, max vacuum percentage 90, number of suction points 9, length 300mm, width 400mm.
AMF 375774
Operating pressure 3.5 - 5, max vacuum percentage 90, number of suction points 9, length 400mm, width 400mm.
AMF 375790
Operating pressure 3.5 - 5, max vacuum percentage 90, number of suction points 9, length 400mm, width 600mm.


HOME Quick Search SEARCH email Samstag
How To Order
AMF Hand Tools
Copyright © 1997-2022  Samstag Sales